MT/T 785-2011 金剛石復合片取心鉆頭
- 發表時間:2022-10-07
- 來源:共立消防
- 人氣:
1 范圍
本標準規定了金剛石復合片取心鉆頭(以下簡稱鉆頭)的型式、型號與參數、技術要求、試驗方法、檢驗規則、標志、包裝和貯存。
本標準適用于煤田地質、煤礦井下瓦斯抽放、注水與排水等鉆孔的回轉鉆進用金剛石復合片取心鉆頭。
2 規范性引用文件
下列文件中的條款通過本標準的引用而成為本標準的條款。凡是注日期的引用文件,其隨后所有的修改單(不包括勘誤的內容)或修訂版均不適用于本標準,然而,鼓勵根據本標準達成協議的各方研究是否可使用這些文件的最新版本。凡是不注日期的引用文件,其最新版本適用于本標準。
GB/T 228-2002 金屬材料 室溫拉伸試驗方法(ISO 6892:1998(E),EQV)
GB/T 13264 不合格品百分數的小批計數抽樣檢驗程序及抽樣表
JB/T 3235-1999 人造金剛石燒結體磨耗比測定方法
JB/T 10041 超硬材料 金剛石或立方氮化硼/硬質合金復合片品種、尺寸
3 型式、型號與參數
3.1 型式
鉆頭型式按冠部形狀分為平底形和階梯形,結構見圖1。
3.2 型號
鉆頭型號表示方法如下:

示例:FDP113/89 為金剛石復合片單管平底形普通取心鉆頭,外徑113 mm,內徑89 mm。

圖1 鉆頭冠部形狀
3.3 參數
3.3.1 普通雙管鉆頭
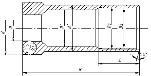
普通雙管鉆頭參數應符合圖2和表1的規定。

圖2 普通雙管鉆頭
表1 普通雙管鉆頭參數
3.3.2 普通單管鉆頭
普通單管鉆頭參數應符合圖3和表2的規定。

圖3 普通單管鉆頭
表2 普通單管鉆頭參數
3.3.3 繩索取心鉆頭
繩索取心鉆頭參數應符合圖4和表3的規定。

圖4 繩索取心鉆頭
以上為標準部分內容,如需看標準全文,請到相關授權網站購買標準正版。
-
IG541混合氣體滅火系統
IG541混合氣體滅火系統:IG-541滅火系統采用的IG-541混合氣體滅火劑是由大氣層中的氮氣(N2)、氬氣(Ar)和二氧化碳(CO2)三種氣體分別以52%、40%、8%的比例混合而成的一種滅火劑 -
二氧化碳氣體滅火系統
二氧化碳氣體滅火系統:二氧化碳氣體滅火系統由瓶架、滅火劑瓶組、泄漏檢測裝置、容器閥、金屬軟管、單向閥(滅火劑管)、集流管、安全泄漏裝置、選擇閥、信號反饋裝置、滅火劑輸送管、噴嘴、驅動氣體瓶組、電磁驅動 -
七氟丙烷滅火系統
七氟丙烷(HFC—227ea)滅火系統是一種高效能的滅火設備,其滅火劑HFC—ea是一種無色、無味、低毒性、絕緣性好、無二次污染的氣體,對大氣臭氧層的耗損潛能值(ODP)為零,是鹵代烷1211、130 -
手提式干粉滅火器
手提式干粉滅火器適滅火時,可手提或肩扛滅火器快速奔赴火場,在距燃燒處5米左右,放下滅火器。如在室外,應選擇在上風方向噴射。使用的干粉滅火器若是外掛式儲壓式的,操作者應一手緊握噴槍、另一手提起儲氣瓶上的


