GB/T 36511-2018 直升機用水下應急呼吸器
- 發表時間:2023-01-01
- 來源:共立消防
- 人氣:
1 范圍
本標準規定了用于直升機乘員的直升機用水下應急呼吸器的結構、技術要求、試驗方法、檢驗規則、標志和隨行文件、包裝、運輸和貯存要求。
本標準適用于直升機用水下應急呼吸器(以下簡稱“水下應急呼吸器”)。
2 規范性引用文件
下列文件對于本文件的應用是必不可少的。凡是注日期的引用文件,僅注日期的版本適用于本文件。凡是不注日期的引用文件,其最新版本(包括所有的修改單)適用于本文件。
GB/T 191 包裝儲運圖示標志
GB/T 192 普通螺紋 基本牙型
GB/T 196 普通螺紋 基本尺寸
GB/T 197 普通螺紋 公差
GB 4806.11-2016 食品安全國家標準 食品接觸用橡膠材料及制品
GB 18435 潛水呼吸氣體及檢測方法
GB/T 28053 呼吸器用復合氣瓶
GB/T 28285-2012 飛機氧氣系統術語
HB 6167.1 民用飛機機載設備環境條件和試驗方法 第1部分:總則
HB 6167.2 民用飛機機載設備環境條件和試驗方法 第2部分:溫度和高度試驗
HB 6167.3 民用飛機機載設備環境條件和試驗方法 第3部分:溫度變化試驗
HB 6167.4 民用飛機機載設備環境條件和試驗方法 第4部分:濕熱試驗
HB 6167.11 民用飛機機載設備環境條件和試驗方法 第11部分:霉菌試驗
HB 6167.12 民用飛機機載設備環境條件和試驗方法 第12部分:鹽霧試驗
3 術語和定義
GB/T 28285-2012界定的術語和定義適用于本文件。為了便于使用,以下重復列出了GB/T 28285-2012中的某些術語和定義。
3.1
肺通氣量 pulmonary ventilation
人體每分鐘吸入或呼出的氣體容量,它等于呼吸頻率與潮氣量的乘積。
[GB/T 28285-2012,定義2.3.42]
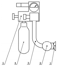
4 結構
水下應急呼吸器一般由咬嘴、肺式活門機構、軟管、氣瓶和減壓器等組成,其結構如圖1所示,其中,減壓器上一般設置有手動開關、安全閥、充氣接嘴和壓力表。
水下應急呼吸器用的氣瓶應符合GB/T 28053的要求。

說明:
1——咬嘴;
2——肺式活門機構:
3——軟管:
4——氣瓶;
5——減壓器。
圖1 水下應急呼吸器結構示意圖
5 技術要求
5.1 使用性能
5.1.1 使用環境
水下應急呼吸器應能在深度為0m~20m、溫度為5℃~35℃的水下環境使用。
5.1.2 呼吸氣體
除另有規定外,水下應急呼吸器一般使用空氣作為呼吸氣體,呼吸用的空氣應符合GB18435的要求。
5.1.3 工作壓力
水下應急呼吸器的氣瓶中的空氣壓力應為2MPa~21 MPa;減壓器的工作壓力應為2MPa~21 MPa。
5.1.4 供氣時間
當平均肺通氣量為25L/min時,水下應急呼吸器的供氣時間應不少于1.5min。
5.1.5 減壓壓力
當工作壓力為21MPa時,水下應急呼吸器的減壓器的輸出壓力應不大于0.9 MPa。
5.1.6 氣密性
5.1.6.1 在21 MPa壓力條件下,水下應急呼吸器的減壓器高壓腔各連接處不應有氣體泄漏。
5.1.6.2 在0.9 MPa壓力條件下,水下應急呼吸器的減壓器減壓腔及軟管各連接處不應有氣體泄漏。
5.1.6.3 水下應急呼吸器的減壓器高壓腔壓力為21MPa時,未封堵的充氣接嘴不應有氣體泄漏。
5.1.7 減壓器安全閥開啟壓力
減壓器安全閥的開啟流量為10L/min時,安全閥的開啟壓力應為1.15 MPa~1.7 MPa。
5.1.8 減壓器供氣流量
在地面條件下,當水下應急呼吸器的減壓器輸入壓力為5MPa,輸出壓力為0.4MPa時,減壓器輸出的供氣流量應不小于90L/min。
5.1.9 肺式活門機構氣密性
5.1.9.1 有壓力時肺式活門機構氣密性
在地面條件下,當肺式活門機構入口壓力為0.8 MPa~0.9MPa時,其漏氣量應不大于0.5L/min。
5.1.9.2 負壓時肺式活門機構氣密性
在地面條件下,當肺式活門機構出口壓力為-1.4kPa~-1.5kPa時,其滲氣量應不大于1L/min。
5.1.10 肺式活門機構的吸氣阻力
在地面條件下,當肺式活門機構的入口壓力為0.75 MPa~0.85 MPa,出口吸氣流量為2.5L/min±0.2 L/min時,其吸氣阻力應為0.3kPa~1kPa;當肺式活門機構的入口壓力為0.75 MPa~0.85 MPa,出口吸氣流量為90L/min±5L/min時,其吸氣阻力應不大于1.5 kPa。
5.1.11 肺式活門機構的呼氣阻力
在地面條件下,當肺式活門機構的出口呼氣流量為5L/min±0.2L/min時,其呼氣阻力應不小于20 Pa;當肺式活門機構的出口呼氣流量為100L/min±5L/min時,其呼氣阻力應不大于400Pa。
5.1.12 尺寸
水下應急呼吸器各部件的外形尺寸應滿足配套型號的救生衣的要求。
5.2 環境適應性
5.2.1 低溫貯存
水下應急呼吸器在-55℃環境下貯存3h后,性能應符合5.1.5~5.1.11的要求。
5.2.2 高溫貯存
水下應急呼吸器在85℃環境下貯存3h后,性能應符合5.1.5~5.1.11的要求。
5.2.3 低氣壓
水下應急呼吸器在氣壓按高度為10.7km對應的壓力(23.7kPa)環境下貯存2h后,性能應符合5.1.5~5.1.11的要求。
5.2.4 溫度沖擊
水下應急呼吸器在進行55℃到-20℃、溫度變化速率不小于2℃/min、2次循環的溫度沖擊試驗后,性能應符合5.1.5~5.1.11的要求。
5.2.5 濕熱
水下應急呼吸器在進行10d的濕熱試驗后,金屬零件的防護層(除邊緣和棱角外)腐蝕面積應在防護層總面積的20%以下,性能應符合5.1.5~5.1.11的要求。
5.2.6 鹽霧
水下應急呼吸器在進行為時144h、48h噴霧和24h干燥交替進行的鹽霧試驗后,金屬零件的防護層(邊緣和棱角除外)腐蝕面積應小于防護層總面積的30%,性能應符合5.1.5~5.1.11的要求。
5.2.7 霉菌
水下應急呼吸器在進行28d的霉菌試驗后,金屬零件內外表面不應長霉,橡膠軟管內表面不應長霉,外表面長霉等級應不超過2級。
以上為標準部分內容,如需看標準全文,請到相關授權網站購買標準正版。
-
IG541混合氣體滅火系統
IG541混合氣體滅火系統:IG-541滅火系統采用的IG-541混合氣體滅火劑是由大氣層中的氮氣(N2)、氬氣(Ar)和二氧化碳(CO2)三種氣體分別以52%、40%、8%的比例混合而成的一種滅火劑 -
二氧化碳氣體滅火系統
二氧化碳氣體滅火系統:二氧化碳氣體滅火系統由瓶架、滅火劑瓶組、泄漏檢測裝置、容器閥、金屬軟管、單向閥(滅火劑管)、集流管、安全泄漏裝置、選擇閥、信號反饋裝置、滅火劑輸送管、噴嘴、驅動氣體瓶組、電磁驅動 -
七氟丙烷滅火系統
七氟丙烷(HFC—227ea)滅火系統是一種高效能的滅火設備,其滅火劑HFC—ea是一種無色、無味、低毒性、絕緣性好、無二次污染的氣體,對大氣臭氧層的耗損潛能值(ODP)為零,是鹵代烷1211、130 -
手提式干粉滅火器
手提式干粉滅火器適滅火時,可手提或肩扛滅火器快速奔赴火場,在距燃燒處5米左右,放下滅火器。如在室外,應選擇在上風方向噴射。使用的干粉滅火器若是外掛式儲壓式的,操作者應一手緊握噴槍、另一手提起儲氣瓶上的


