GB/T 38309-2019 火災煙氣流毒性組分測試 FTIR分析火災煙氣中氣體組分的指南
- 發表時間:2022-11-08
- 來源:共立消防
- 人氣:
1 范圍
本標準規定了采用傅里葉變換紅外光譜氣體分析技術(FTIR)分析火災煙氣中一氧化碳(CO)、二氧化碳(CO2)、氰化氫(HCN)、氯化氫(HCD)、溴化氫(HBr)、一氧化氮(NO)、二氧化氮(NO2)和丙烯醛(CH2CHCHO)等氣體組分的方法。
本標準適用于火災煙氣中各類氣體組分的濃度分析,也適用于可采用FTIR技術分析的其他氣體,包括氟化氫(HF)和二氧化硫(SO2)。
2 規范性引用文件
下列文件對于本文件的應用是必不可少的。凡是注日期的引用文件,僅注日期的版本適用于本文件。凡是不注日期的引用文件,其最新版本(包括所有的修改單)適用于本文件。
ISO 19701:2013 火災煙氣采樣和分析方法(Methods for sampling and analysis of fire effluents)
3 術語和定義
下列術語和定義適用于本文件。
3.1
傅里葉變換紅外光譜氣體分析法 Fourier transform infra-red spectroscopy gas analysis;FTIR 使用數學計算傅里葉變換法來測量多組分氣體濃度的紅外光譜技術。
3.2
分辨率 resolution
光譜儀分辨兩個相鄰頻率(或波數)的能力,要求兩條譜帶之間的間隔最少要為其中一條譜帶強度的二分之一。
3.3
波數 wave number
波長的倒數。
注:單位為每厘米(cm-1)。
3.4
最低檢測限 limit of detection
LD
在給定的可靠程度內可以從樣品中檢測待測物質的最小濃度。
注:單位為微升每升(μL/L)。
3.5
最低定量限 limit of quantification
Lo
樣品中被測物質能被定量測定的最低濃度。
注:單位為微升每升(μL/L)。
4 原理
用于分析火災煙氣中氣體組分的FTIR系統包括采樣系統、氣體池、紅外光源、干涉儀、檢測器以及用于數據處理的軟件。
從采樣系統(如煙道)取樣或直接抽取被測煙氣,煙氣樣品不斷從加熱的采樣管線輸送到加熱的FTIR光譜儀氣體池。紅外光源發出的光束經過邁克爾遜干涉儀調制后形成干涉光束,干涉光束直接穿過氣體池到達檢測器,得到選定光譜范圍內的干涉圖,并通過傅里葉變換將干涉圖轉換為光譜圖。對光譜進行分析計算可得到氣體的濃度,連續采集譜圖并進行分析計算就可得到被測氣體的時間-濃度曲線。
5 采樣系統
5.1 一般規定
本標準規定的采樣系統同時適用于小尺寸、中尺寸和大尺寸火災試驗模型。附錄C例舉了兩種典型的采樣系統。
為避免人員中毒或污染儀器,從FTIR儀氣體池排出的火災煙氣應通過安全途徑排放。
5.2 火災試驗模型
選定的火災試驗模型應能反映火災的特定階段及場景。火災試驗模型的重現性和再現性符合相關試驗要求。火災試驗模型包括:
——小尺寸火災試驗模型,例如管式爐材料產煙毒性評價試驗;
——中尺寸火災試驗模型,例如建筑材料或制品的單體燃燒試驗(SBI試驗);
——大尺寸火災試驗模型,例如墻角火試驗。
5.3 采樣系統溫度要求
應保持采樣系統的溫度不低于150℃且不高于190℃。
整個采樣系統溫度應保持相同且不得高于氣體池溫度。
5.4 過濾器
5.4.1 過濾器可放置在采樣頭和采樣管線之間,也可放置在采樣管線之后。過濾器應放置在加熱部件中,工作溫度不低于150℃。宜選用圓柱形過濾器,不宜選用平面過濾器。
5.4.2 酸性氣體會被濾芯吸附,在酸性氣體濃度很低時吸附作用會嚴重影響測試結果。需測定被濾芯吸附的酸性氣體的量用于校正測試結果,測定方法見附錄D。當需要計算燃燒中產生的氣體的總濃度時,應將濾芯吸附的酸性氣體量也加入進去。
5.4.3 當需要清洗濾芯來測量氯化氫的總濃度時需考慮有些濾芯本身含有氯。
5.5 采樣頭
5.5.1 一般規定
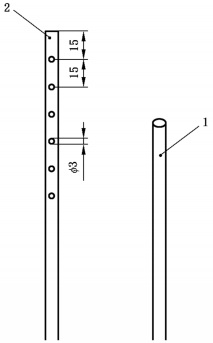
應按盡可能采集到有代表性的氣體樣品的原則選擇采樣頭。可選擇多孔和單孔采樣頭。不同類型采樣頭的樣式見圖1。

單位為毫米
說明:
1-單孔采樣頭;
2-多孔采樣頭。
注:內徑為4mm的單孔采樣頭采樣效果較好。
圖1 火災煙氣采樣頭示意圖
采樣頭應使用防腐蝕、防污染、不與煙氣發生化學反應的材料制成。
應定期清洗采樣頭以防止采樣孔堵塞。
5.5.2 單孔采樣頭
當火災煙氣流混合均勻時可使用單孔采樣頭。
對于有一定流速載氣流通過的火災試驗模型(如GB/T 20285管式爐火災試驗模型),采樣頭抽取的煙氣只占總煙氣流的很小一部分,此種情況可使用單孔采樣頭。
單孔采樣頭的內徑不得小于3mm。
5.5.3 多孔采樣頭
在火災煙氣流有分層現象出現時,應選擇多孔采樣頭(如GB/T 20284建筑材料或制品的單體燃燒試驗)。采樣頭的安裝方向應與煙氣流方向垂直,孔與煙氣的流動方向相對。
推薦使用孔徑不小于3mm的多孔采樣頭。
5.5.4 采樣頭安裝
為了避免擾動煙氣流,采樣體積應遠少于煙氣流總體積(<25%)或采集全部煙氣。
在小尺寸火災試驗模型中,宜采用單孔采樣頭。單孔采樣頭應安裝在煙氣混合均勻且沒有湍流現象出現的地方。
在中、大尺寸火災試驗模型中宜采用多孔采樣頭,采樣頭應放置在與煙氣流交叉的位置。
5.6 采樣管線
采樣管線應選用不與被測煙氣發生化學反應的材料。宜選擇聚四氟乙烯管(PTFE)、四氟乙烯-全氟烷氧基乙烯基醚共聚物管(PFA)和襯四氟不銹鋼波紋管作為采樣管線。
以上為標準部分內容,如需看標準全文,請到相關授權網站購買標準正版。
-
IG541混合氣體滅火系統
IG541混合氣體滅火系統:IG-541滅火系統采用的IG-541混合氣體滅火劑是由大氣層中的氮氣(N2)、氬氣(Ar)和二氧化碳(CO2)三種氣體分別以52%、40%、8%的比例混合而成的一種滅火劑 -
二氧化碳氣體滅火系統
二氧化碳氣體滅火系統:二氧化碳氣體滅火系統由瓶架、滅火劑瓶組、泄漏檢測裝置、容器閥、金屬軟管、單向閥(滅火劑管)、集流管、安全泄漏裝置、選擇閥、信號反饋裝置、滅火劑輸送管、噴嘴、驅動氣體瓶組、電磁驅動 -
七氟丙烷滅火系統
七氟丙烷(HFC—227ea)滅火系統是一種高效能的滅火設備,其滅火劑HFC—ea是一種無色、無味、低毒性、絕緣性好、無二次污染的氣體,對大氣臭氧層的耗損潛能值(ODP)為零,是鹵代烷1211、130 -
手提式干粉滅火器
手提式干粉滅火器適滅火時,可手提或肩扛滅火器快速奔赴火場,在距燃燒處5米左右,放下滅火器。如在室外,應選擇在上風方向噴射。使用的干粉滅火器若是外掛式儲壓式的,操作者應一手緊握噴槍、另一手提起儲氣瓶上的


