GB/T 7702.4-1997 煤質顆粒活性炭試驗方法 裝填密度的測定
- 發表時間:2022-12-27
- 來源:共立消防
- 人氣:
1 范圍
本標準規定了煤質顆粒活性炭裝填密度測定所需儀器、測定步驟及測定結果的處理等內容。
本標準適用于煤質顆粒活性炭(以下簡稱活性炭)裝填密度的測定。
2 引用標準
下列標準所包含的條文,通過在本標準中引用而構成為本標準的條文。本標準出版時,所示版本均為有效。所有標準都會被修訂,使用本標準的各方應探討使用下列標準最新版本的可能性。
GB/T 7702.1-1997 煤質顆粒活性炭試驗方法 水分的測定
3 方法提要
活性炭經振動落入量筒中,稱100mL活性炭的質量,計算裝填密度。
4 儀器、裝置
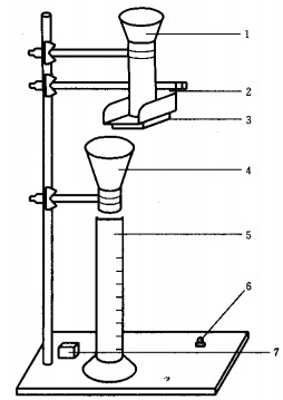
4.1 裝填密度測定裝置(見圖1)。
4.2 振篩機:轉速280~320 r/min。
敲擊140~160拍/min。
4.3 量筒:100mL。
4.4 天平:感量0.1g。
4.5 秒表。
5 試樣及其制備
對所送樣品用四分法選取試樣。
6 測定步驟
6.1 將適量試樣在(150±5)℃的溫度下干燥2h(已知水分含量的試樣不需干燥)。
6.2 取約300mL的干燥試樣,選該試樣粒度測定時使用的底篩,用振篩機過篩60s,除去粉塵及碎粒。
6.3 取多于100mL篩好的試樣裝入儲存漏斗(見圖1)。
6.4 調整儲存漏斗高度或振動器(見圖1)傾斜度,啟動開關,使試樣以0.75~1.0mL/s的速度經進料漏斗(見圖1)落入量筒中,直至100mL為止。
6.5 稱量量筒中的試樣,準確至0.1g。

1——儲存漏斗;2——振動器;3——蜂鳴器;4——進料漏斗;5——量筒;6——開關;7——變壓器
圖1 裝填密度測定裝置
6.6 重復6.1至6.5步驟,再做一份試樣。
7 測定結果的處理
7.1 結果按式(1)計算:
ρz=m/100×1000 …………………………………………(1)
式中:
ρz——裝填密度,g/L;
m——試樣質量,g。
對已知水分含量的試樣,要除去水分計算。
7.2 兩份試樣各測定一次,允許差小于25g/L。結果以算術平均值表示,精確至整數位。
8 試驗報告
按GB/T 7702.1-1997第7章的規定執行。
以上為標準部分內容,如需看標準全文,請到相關授權網站購買標準正版。
-
IG541混合氣體滅火系統
IG541混合氣體滅火系統:IG-541滅火系統采用的IG-541混合氣體滅火劑是由大氣層中的氮氣(N2)、氬氣(Ar)和二氧化碳(CO2)三種氣體分別以52%、40%、8%的比例混合而成的一種滅火劑 -
二氧化碳氣體滅火系統
二氧化碳氣體滅火系統:二氧化碳氣體滅火系統由瓶架、滅火劑瓶組、泄漏檢測裝置、容器閥、金屬軟管、單向閥(滅火劑管)、集流管、安全泄漏裝置、選擇閥、信號反饋裝置、滅火劑輸送管、噴嘴、驅動氣體瓶組、電磁驅動 -
七氟丙烷滅火系統
七氟丙烷(HFC—227ea)滅火系統是一種高效能的滅火設備,其滅火劑HFC—ea是一種無色、無味、低毒性、絕緣性好、無二次污染的氣體,對大氣臭氧層的耗損潛能值(ODP)為零,是鹵代烷1211、130 -
手提式干粉滅火器
手提式干粉滅火器適滅火時,可手提或肩扛滅火器快速奔赴火場,在距燃燒處5米左右,放下滅火器。如在室外,應選擇在上風方向噴射。使用的干粉滅火器若是外掛式儲壓式的,操作者應一手緊握噴槍、另一手提起儲氣瓶上的


