GB/T 35497-2017 膠鞋 膠鞋用材料阻燃性能試驗方法
- 發表時間:2022-11-17
- 來源:共立消防
- 人氣:
警示-使用本標準的人員應有正規實驗室工作的實踐經驗。本標準并未指出所有可能的安全問題,使用者有責任采取適當的安全和健康措施,并保證符合國家有關法規規定的條件。
1 范圍
本標準規定了膠鞋用材料阻燃性能的試驗方法。
本標準規定了A法和B法兩種試驗方法,A法為垂直燃燒法,B法為水平燃燒法。
本標準適用于膠鞋用材料及其制品。
本標準不適用于評定膠鞋用材料及其制品實際使用條件下其著火危險性。
2 規范性引用文件
下列文件對于本文件的應用是必不可少的。凡是注日期的引用文件,僅注日期的版本適用于本文件。凡是不注日期的引用文件,其最新版本(包括所有的修改單)適用于本文件。
GB/T 2941 橡膠物理試驗方法試樣制備和調節通用程序
GB/T 6529 紡織品 調濕和試驗用標準大氣
3 術語和定義
下列術語和定義適用于本文件。
3.1
續燃時間 afterflame time
在規定的試驗條件下,移開引燃源后,材料持續有焰燃燒的時間。
注:單位為秒(s)。
3.2
陰燃時間 afterglow time
在規定的試驗條件下,移開引燃源,當有焰燃燒終止后或本為無焰燃燒者,材料將持續無焰燃燒的時間。
注:單位為秒(s)。
3.3
損毀長度 damaged length
在規定的試驗條件下,在規定的方向上材料損毀部分的最大長度。
注:單位為毫米(mm)。
3.4
火焰蔓延時間 flame spread time
在規定的試驗條件下,火焰在燃燒著的材料上蔓延規定距離所需要的時間。
注:單位為秒(s)。
3.5
火焰蔓延速率 flame spread rate
在規定的試驗條件下,單位時間內火焰蔓延的距離。
注:單位為毫米每分鐘(mm/min)。
4 原理和方法
4.1 原理
用規定的點火器對試樣進行一定時間的點火,然后移去引燃源,測量試樣的續燃時間、陰燃時間及損毀長度或者火焰在試樣上的蔓延距離和蔓延此距離所用的時間的阻燃性能。
4.2 方法
4.2.1 A法(垂直燃燒法)
將試樣固定在垂直夾具上,試樣處于垂直位置,規定的點火器對垂直方向的試樣的底邊中心位置處點火,在一定的點火時間后,移開引燃源,對試樣的阻燃性能進行測定。本方法適用于火焰移去后試樣的續燃時間、陰燃時間及損毀長度的測定,本方法適用于鞋幫面材料和鞋底材料。
4.2.2 B法(水平燃燒法)
將試樣固定在水平夾具上,試樣處于水平位置,規定的點火器對其中一端中心位置處點火,在一定的點火時間后,移開引燃源,對試樣的阻燃性能進行測定。本方法適用于火焰移去后試樣的火焰蔓延時間和距離的測定,并計算火焰傳播速率,本方法適用于鞋幫面材料。
注:試驗方法A法和B法所獲得的結果可能不一致。
5 設備和材料
5.1 A法(垂直燃燒法)的裝置
5.1.1 垂直燃燒試驗箱(見圖1):
a)垂直燃燒試驗箱:由耐熱及耐煙霧侵蝕的材料制成,箱內尺寸為(330±2)mm×(330±2)mm×(770±2)mm;
b) 箱的前部設有由耐熱耐煙霧侵蝕的透明材料制作的觀察口,箱頂有均勻排列的16個內徑為12.5mm的排氣孔;
c) 為防止箱外氣流的影響,距箱頂外30mm加裝頂板一塊,箱兩側下部各開有6個內徑為12.5mm的通風孔。箱頂有支架可承掛試樣夾,試樣夾側面被試樣夾固定裝置固定,使試樣夾與前門垂直并位于試驗箱的中心;
d) 試驗夾底部位于點火器管口之上,箱底鋪有耐熱及耐腐蝕材料制成的板,長寬較箱底各小25mm,厚度約3mm;
e) 試驗箱中央放一塊可以承受滴溶或其他碎片的絲網板,其最小尺寸為152mm×152mm×1.5mm;
f) 垂直燃燒試驗箱,應放置在排氣性能良好的通風櫥內。
5.1.2 試樣夾(用于面料)(見圖2):由兩塊厚2mm,長422mm寬89mm的U型不銹鋼板構成,其內框尺寸為356mm×51mm,試樣固定于兩板中間,兩邊用夾子夾緊。
5.1.3 點火器(見圖3):管口內徑為(9.5±0.5)mm,管頭與垂線成25°角,點火器入口氣體壓力為(17.2±1.7)kPa,可控制點火時間精確到0.05s。點火器管口頂端,離試樣夾底端距離(17±1)mm。
5.1.4 氣體:選用液化石油氣。
5.1.5 醫用脫脂棉。
5.1.6 直尺:最小刻度值為1mm。
5.1.7 測厚儀:量程10mm,精度為0.01mm。
5.1.8 密封容器。
5.1.9 干燥器。
5.1.10 計時器:最小分度值(或精密度)為0.1s。

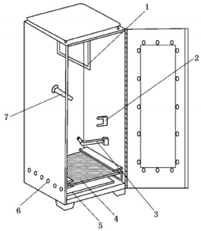
說明:
1-試樣支架:
2-焰高指示器:
3-點火器;
4-絲網板;
5-耐熱及耐腐蝕板:
6-通風孔;
7-試驗夾固定裝置。
圖1 垂直燃燒試驗箱

單位為毫米
圖2 垂直燃燒試樣夾
以上為標準部分內容,如需看標準全文,請到相關授權網站購買標準正版。
-
IG541混合氣體滅火系統
IG541混合氣體滅火系統:IG-541滅火系統采用的IG-541混合氣體滅火劑是由大氣層中的氮氣(N2)、氬氣(Ar)和二氧化碳(CO2)三種氣體分別以52%、40%、8%的比例混合而成的一種滅火劑 -
二氧化碳氣體滅火系統
二氧化碳氣體滅火系統:二氧化碳氣體滅火系統由瓶架、滅火劑瓶組、泄漏檢測裝置、容器閥、金屬軟管、單向閥(滅火劑管)、集流管、安全泄漏裝置、選擇閥、信號反饋裝置、滅火劑輸送管、噴嘴、驅動氣體瓶組、電磁驅動 -
七氟丙烷滅火系統
七氟丙烷(HFC—227ea)滅火系統是一種高效能的滅火設備,其滅火劑HFC—ea是一種無色、無味、低毒性、絕緣性好、無二次污染的氣體,對大氣臭氧層的耗損潛能值(ODP)為零,是鹵代烷1211、130 -
手提式干粉滅火器
手提式干粉滅火器適滅火時,可手提或肩扛滅火器快速奔赴火場,在距燃燒處5米左右,放下滅火器。如在室外,應選擇在上風方向噴射。使用的干粉滅火器若是外掛式儲壓式的,操作者應一手緊握噴槍、另一手提起儲氣瓶上的


