MT/T 1067-2007 活性炭吸附H2S穿透容量和穿透時間的測定方法
- 發表時間:2022-10-21
- 來源:共立消防
- 人氣:
1 范圍
本標準規定了測定煤質顆粒活性炭吸附 H2S 穿透容量和穿透時間試驗所用的試樣﹑儀器設備﹑測定步驟﹑結果表達和方法的精密度。
本標準適用于煤質顆粒活性炭吸附 H2S 穿透容量和穿透時間的測定,也適用于果殼炭﹑用過的活性炭和再生炭。
2 定義和術語
下列術語和定義適用于本標準
2.1 活性炭 activated carbon
具有吸附性能的含碳類物質。
2.2 穿透容量 Breakthrough capacity
當含有吸附質的氣體通過活性炭床層時,當床層出口氣體吸附質濃度超過了規定值時, 單位體積活性炭吸附的吸附質的量稱為該活性炭的吸附容量。
2.3 穿透時間 Breakthrough time
當含有吸附質的氣體通過活性炭床層時,當床層出口氣體吸附質濃度超過了規定值時, 試驗所需的時間稱為該活性炭的穿透時間。
3 方法提要
一定體積的活性炭,經增濕后,在規定條件下通入(1±0.05)%的 H2S 氣體,當通入炭層后吸附管的尾氣中 H2S 的濃度達到 50mL/m3 時,單位體積活性炭吸附的 H2S 的質量為該活性炭的穿透容量,吸附所需時間為穿透時間。
4 試劑和材料
4.1 氫氧化鈉(NaOH)GB/T 629-1997。
4.2 酚酞。
4.3 H2S 檢測管,能檢測出 H2S 濃度為(0~100)mL/m3 的檢測管。
4.4 噴壺,約 300mL。
5 儀器設備
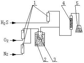
5.1 測定裝置見圖 1。
5.2 吸附管:直徑約 25mm,有效容積(116±5)mL,具體尺寸見圖 2。此吸附管用于測直徑≤2.5mm 的活性炭,當測定的活性炭直徑>2.5mm 時,應選用吸附管的直徑是活性炭直徑的 10 倍,吸附管打孔的支架開孔率應大于 30%。
6 測定步驟
6.1 試樣及其制備:將樣品用四分法取出式樣。也可用二分器(分樣器)縮分樣品。
6.2 樣品的增濕:將活性炭放入白磁盤中,用噴壺向活性炭噴入霧狀蒸餾水,使其增濕到水分為 5%—7%。
6.3 將增濕過的活性炭裝入吸附管中,并將吸附管在橡膠墊上敦實,加到吸附管刻線后繼續敦實,直到活性炭體積不再變化,然后將吸附管安裝到裝置上。

1.流量計,2.恒溫水浴,3.增濕器,4.吸附管,5 裝有堿和酚酞指示劑的錐形瓶。
圖 1:活性炭吸附 H2S 穿透容量和穿透時間的裝置示意圖

圖 2:吸附管,圖中尺寸:mm
6.4 按化驗后的 H2S 的濃度計算應配入的 O2﹑N2 和 H2S 的氣量,總氣體流量是(1450±50)mL/min,H2S 的濃度是(1±0.05)%,O2 濃度是 20%,其余為 N2。調整恒溫水浴的溫度為(25±2)℃, 當氣體配好后,向吸附管中通入混合氣,把吸附管的尾氣引入一個 100mL 的錐形瓶中,錐形瓶中加入約 50mL 蒸餾水,加入少許 0.5mol/L 的氫氧化鈉溶液和少許酚酞指示劑,同時記下時間。
6.5 開始試驗后每隔 30min 觀察一下錐形瓶的粉紅色是否消失,如果粉紅色消失,證明有 H2S 氣體穿過,這時應每隔(20-30)min 用快速 H2S 氣體檢測管檢查尾氣,直到尾氣中 H2S 氣體的濃度為 50mL/m3,這時停止試驗,并記下時間。
6.6 按上述步驟再作一份平行試驗。
7 結果計算
7.1 H2S 的穿透容量為:

式中:
C--H2S的穿透容量,單位為克每毫升,g/mL;
CQ—試驗氣中 H2S 的體積百分數,單位為百分數,%;
VZ—試驗氣的總流量,單位為毫升每分鐘,mL/min;
34--H2S 的摩爾質量,單位為克每摩爾,g/mol;
22.4—標準狀況下 H2S 的摩爾體積,單位為升每摩爾,L/mol;
VG—吸附管的有效體積,單位為毫升,mL。
7.2 結果以兩次試驗的算術平均值表示,穿透容量修約到小數點后 3 位,穿透時間修約到min。
8 方法的精密度
兩次平行測定結果的差值不得超過其算術平均值的 10%。
以上為標準部分內容,如需看標準全文,請到相關授權網站購買標準正版。
-
IG541混合氣體滅火系統
IG541混合氣體滅火系統:IG-541滅火系統采用的IG-541混合氣體滅火劑是由大氣層中的氮氣(N2)、氬氣(Ar)和二氧化碳(CO2)三種氣體分別以52%、40%、8%的比例混合而成的一種滅火劑 -
二氧化碳氣體滅火系統
二氧化碳氣體滅火系統:二氧化碳氣體滅火系統由瓶架、滅火劑瓶組、泄漏檢測裝置、容器閥、金屬軟管、單向閥(滅火劑管)、集流管、安全泄漏裝置、選擇閥、信號反饋裝置、滅火劑輸送管、噴嘴、驅動氣體瓶組、電磁驅動 -
七氟丙烷滅火系統
七氟丙烷(HFC—227ea)滅火系統是一種高效能的滅火設備,其滅火劑HFC—ea是一種無色、無味、低毒性、絕緣性好、無二次污染的氣體,對大氣臭氧層的耗損潛能值(ODP)為零,是鹵代烷1211、130 -
手提式干粉滅火器
手提式干粉滅火器適滅火時,可手提或肩扛滅火器快速奔赴火場,在距燃燒處5米左右,放下滅火器。如在室外,應選擇在上風方向噴射。使用的干粉滅火器若是外掛式儲壓式的,操作者應一手緊握噴槍、另一手提起儲氣瓶上的


