GB 24155-2020 電動摩托車和電動輕便摩托車安全要求
- 發表時間:2023-03-13
- 來源:共立消防
- 人氣:
1 范圍
本標準規定了純電動摩托車、純電動輕便摩托車安全的一般要求、電氣安全要求、操作安全要求、標志和警示語要求和試驗方法等。
本標準適用于純電動摩托車、純電動輕便摩托車(除特殊說明外,以下簡稱“電動摩托車”)。
2 規范性引用文件
下列文件對于本文件的應用是必不可少的。凡是注日期的引用文件,僅注日期的版本適用于本文件。凡是不注日期的引用文件,其最新版本(包括所有的修改單)適用于本文件。
GB/T 4208-2017 外殼防護等級(IP代碼)
GB/T 5359.1 摩托車和輕便摩托車術語 第1部分:車輛類型
GB 7258 機動車運行安全技術條件
GB 15365 摩托車和輕便摩托車操縱件、指示器及信號裝置的圖形符號
GB/T 18384.1-2015 電動汽車 安全要求 第1部分:車載可充電儲能系統(REESS)
GB/T 18384.3-2015 電動汽車 安全要求 第3部分:人員觸電防護
GB/T 19596 電動汽車術語
GB/T 24157 電動摩托車和電動輕便摩托車續駛里程及殘電指示試驗方法
3 術語和定義
GB/T 5359.1、GB/T 18384.3-2015和GB/T 19596界定的以及下列術語和定義適用于本文件。
3.1
調速單元 speed regulation unit
當電動摩托車處于“可行駛模式”時,可控制其行駛速度的操作裝置。
3.2
車載充電機 on-board charger
固定安裝在電動摩托車上,將公共電網的電能轉換為直流電給車載儲能裝置充電的裝置。
4 要求
4.1 一般要求
4.1.1 應避免電氣部件所產生的熱量造成燃燒或人員燙傷。
4.1.2 電控調速單元的設計應避免由于非正常操作或無操作而引起的火災或觸電危險。
4.2 電氣安全要求
4.2.1 動力蓄電池
4.2.1.1 散熱和通風
動力蓄電池箱應有良好的散熱和通風,同時在結構設計上應保證安裝在電動摩托車上的動力蓄電池產生的有害氣體不會儲存于電動摩托車內部的角落。
4.2.1.2 安裝
動力蓄電池在正常安裝位置條件下,表面不得有電解液滲漏或濺出。動力蓄電池的安裝應保證車輛運行受到振動時,蓄電池不能受到不正常的摩擦或應力。
4.2.1.3 電池保護
動力蓄電池、充電系統和動力電路系統應設有保護功能。該功能應能在電動摩托車制造廠規定的過流、欠壓、過充電、過熱與動力蓄電池連接的電路出現短路的情況下,自動斷開與動力蓄電池的連接電路。該功能的響應時間應符合產品技術文件。
4.2.1.4 電氣間隙與爬電距離
動力蓄電池的爬電距離應滿足如下要求:
a)動力蓄電池連接端子間的爬電距離d1按式(1)計算,單位為毫米(mm):
d1≥0.25U+5 …………………(1)
式中:
U——動力蓄電池兩個輸出端子間的最大工作電壓,單位為伏(V)。
b)帶電部件與電平臺之間的爬電距離d2按式(2)計算,單位為毫米(mm):
d2≥0.125U+5 …………………(2)
式中:
U——動力蓄電池兩個輸出端子間的最大工作電壓,單位為伏(V)。
導電部件之間的電氣間隙應不小于2.5mm。
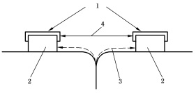
電氣間隙和爬電距離的測量見圖1。

說明:
1——可導電表面;
2——連接端子(蓄電池模塊、蓄電池包或動力蓄電池);
3——爬電距離;
4——電氣間隙。
4.2.2 帶電部分的觸電防護
4.2.2.1 除特殊說明外,標稱電壓不高于36 V(d.c.)和12 V(a.c.)(rms)的帶電部分本標準不做要求。注:使用脈沖電壓時,取10ms以上的最大電壓值為工作電壓,若峰值持續時間均小于10ms時則取其均方根值。
4.2.2.2 標稱電壓高于36V(d.c.)和12V(a.c.)(rms)的帶電部分應使用絕緣包覆即基本絕緣或加以隔離密封以防止直接接觸。
4.2.2.3 帶電部分的絕緣材料應能滿足標稱電壓及溫度的要求。帶電部件的絕緣包覆應只能通過毀壞才能被拆除。絕緣油漆、涂料、膠水、瓷釉等類似材料都不應用作絕緣包覆(基本絕緣)。
4.2.2.4 帶電部分的隔離密封應使用具有適當強度的護板、護蓋、保護架等以防止直接接觸。其中人員乘坐及放置物品的空間的隔離防護裝置不可以在不使用工具或無意識的情況下被打開、拆除;其他不使用工具能夠打開的部位應標示警告符號,警告符號見圖2。
4.2.2.5 不得含有裸露的導線、接線端、連接單元。車上布線應加以保護,不得接觸毛刺、散熱片等,以免損壞布線絕緣;通過絕緣導線的金屬孔其表面要光滑、圓整且配有套管。
4.2.2.6 各電氣部件之間的連接導線,不應受到過度的拉力;方向把與車架之間的連接不應因正常轉動而損壞導線的絕緣,同時應有效防止電線與運動部件的接觸。
4.2.2.7 B級電壓電路中的電纜及電路中的外皮(可以是線纜護管)應用橙色加以區分,外殼里面或遮欄后面的除外。
4.2.2.8 B級電路的絕緣電阻應大于1000Ω/V,絕緣電阻測量方法按照5.2進行。
4.2.2.9 對于安裝有車載充電機的電動摩托車,應對其車載充電機的輸入端與電平臺之間進行耐電壓試驗。試驗后,車載充電機的輸入端與電平臺之間的絕緣電阻應符合4.2.2.8的要求。
4.2.2.10 按照5.4進行各項防水試驗后,均應按照5.2立即測量電路的絕緣電阻(電動摩托車仍是濕的),絕緣電阻值應大于500Ω/V;靜置24h后再次測試應大于1000 Ω/V。
4.2.2.11 遮欄/外殼的防護等級應至少能滿足GB/T 4208-2017中IPXXB的要求:
a)客艙和行李艙中的遮欄/外殼的防護等級應至少能滿足GB/T 4208-2017中IPXXD的要求;
b) 對于不用工具可以斷開且未接合時帶B級電壓的連接器,在未連接狀態下應至少能滿足GB/T 4208-2017中IPXXB的要求。
4.2.2.12 出現故障的B級電壓電路可采用斷電的方式進行保護。切斷供電的電路應在車輛制造商規定的時間內達到下列要求之一:
——交流電路應降到30V(a.c.)(rms)以下,直流電路應降到60V(d.c.)以下;
——電路存儲的總能量小于0.2J。
4.2.3 外露可導電部分的觸電保護
4.2.3.1 A級電壓外露可導電部分本標準不做要求。
4.2.3.2 外露可導電部件全部連接以維持電位均衡。其連接方式可以為:
a) 以電線連接;
b) 經由螺絲與金屬車架連接。
4.2.3.3 外露可導電部分應滿足下列要求之一:
——任何兩個外露可導電部件之間的電阻值不超過0.1Ω;
——外露可導電部件通過絕緣材料與B級電壓系統進行隔離,且與B級電壓系統之間的絕緣電阻大于20MΩ,試驗電壓為1000 V。
4.2.4 電動摩托車與充電電源連接要求
4.2.4.1 電動摩托車與充電電源進行物理連接時不可通過電動摩托車自身的驅動系統使其移動。充電連接所使用的元件應具有可終止連接以中斷電流,而不會造成任何物體損壞的功能。
4.2.4.2 固定安裝在電動摩托車上的充電接口在斷開時應至少滿足下述一種要求:
——使傳導連接到電網的電路在1s內斷電,斷電電路應滿足4.2.2.12的要求;
——滿足GB/T 4208-2017中IPXXB的要求,并能在制造商規定的時間內斷電。
以上為標準部分內容,如需看標準全文,請到相關授權網站購買標準正版。
-
IG541混合氣體滅火系統
IG541混合氣體滅火系統:IG-541滅火系統采用的IG-541混合氣體滅火劑是由大氣層中的氮氣(N2)、氬氣(Ar)和二氧化碳(CO2)三種氣體分別以52%、40%、8%的比例混合而成的一種滅火劑 -
二氧化碳氣體滅火系統
二氧化碳氣體滅火系統:二氧化碳氣體滅火系統由瓶架、滅火劑瓶組、泄漏檢測裝置、容器閥、金屬軟管、單向閥(滅火劑管)、集流管、安全泄漏裝置、選擇閥、信號反饋裝置、滅火劑輸送管、噴嘴、驅動氣體瓶組、電磁驅動 -
七氟丙烷滅火系統
七氟丙烷(HFC—227ea)滅火系統是一種高效能的滅火設備,其滅火劑HFC—ea是一種無色、無味、低毒性、絕緣性好、無二次污染的氣體,對大氣臭氧層的耗損潛能值(ODP)為零,是鹵代烷1211、130 -
手提式干粉滅火器
手提式干粉滅火器適滅火時,可手提或肩扛滅火器快速奔赴火場,在距燃燒處5米左右,放下滅火器。如在室外,應選擇在上風方向噴射。使用的干粉滅火器若是外掛式儲壓式的,操作者應一手緊握噴槍、另一手提起儲氣瓶上的


