GB/T 39832-2021 園藝機械 物料動力收集裝置 安全
- 發表時間:2023-03-09
- 來源:共立消防
- 人氣:
1 范圍
本標準給出了用于農業、園藝和區域維護(景觀美化)的物料動力收集裝置的設計和結構的安全要求和方法。
本標準適用于園藝用懸掛式、半懸掛式或牽引式機械。
本標準規定了物料收集系統按預定使用時排除和減少機械危險的方法。
本標準不涉及環境危險,道路安全,電磁兼容性,動力輸出軸(PTO),動力輸出傳動軸防護裝置或控制要求。
2 規范性引用文件
下列文件對于本文件的應用是必不可少的。凡是注日期的引用文件,僅注日期的版本適用于本文件。凡是不注日期的引用文件,其最新版本(包括所有的修改單)適用于本文件。
ISO 730-1 農業輪式拖拉機 后置式三點懸掛裝置 第1部分:1、2、3和4類(Agriculturalwhecled tractors-Rear-mounted three-point linkage-Part 1:Categorics 1,2,3 and 4)
ISO 2332 農業拖拉機和機械 三點懸掛機具的聯接裝置 機具上的間隙范圍(Agriculturaltractors and machinery-Connection of implements via threc-point linkage-Clearancc zone around implement)
ISO 3600 農林拖拉機和機械、草坪和園藝動力機械 使用說明書編寫規則(Tractors,machineryfor agriculture and forestry, powered lawn and garden equipment Operator's manuals Content and presentation)
ISO 4413 液壓傳動 系統的通用規則(Hydraulic fluid power-General rules relating to sys-tems)
ISO 11684 農林拖拉機和機械、草坪和園藝動力機械 安全標志和危險圖形 總則(Tractors,machinery for agriculture and forestry, powered lawn and garden equipment-Safety signs and hazard pictorials-General principles)
ISO 12100-1:2003 機械安全 基本概念與設計通則 第1部分:基本術語和方法(Salety of ma-chinery-Basic concepts,general principles for design-Part 1: Basic terminology,methodology)
ISO 13849-1 機械安全 控制系統有關安全部件 第1部分:設計通則(Safety of machinery-Safety-related parts of control systems-Part 1:General principles for design)
ISO 13852:1996 機械安全 防止上肢觸及危險區的安全距離(Safety of machinery-Safety dis-tances to prevent danger zones being reached by the upper limbs)
3 術語和定義
下列術語和定義適用于本文件。
3.1
物料收集裝置 material-collecting system
利用風機產生真空以收集草和樹葉的懸掛式、半懸掛式或牽引式機具。
注:收集的物料可包括工作區域其他以碎片形式存在的有機或無機物。
3.2
入口裝置 inlet device
風機箱吸氣端用于連接吸氣軟管或吸氣管的開口。
3.3
卸料槽 discharge chute
風機箱上用于將物料從風機運送到料斗的開口。
3.4
正常操作和維修 normal operation and service
按規定的操作、維修和安全信息對機器進行使用。
4 安全要求
4.1 基礎原則和設計通則
對于相關但不顯著的危險,應根據ISO 12100-1:2003中第5章規定的減小危險的原則設計機器。除本標準有特殊規定外,開口和相關安全距離應符合ISO 13852:1996中表1、表3、表4和表6的規定。
4.2 鼓風機的連接通道
4.2.1 吸入(入口)端
吸氣軟管或吸氣管應固定在入口裝置上。吸氣軟管或吸氣管的拆除應只有使用工具才能實現。使用說明書中應包括清除堵塞的信息[見5.1.2e)]。
4.2.2 卸料槽
4.2.2.1 卸料槽開口的最大尺寸應為625cm2。
4.2.2.2 為避免靠近風機的危險部件,機器應符合下列條件之一:
a) 卸料槽開口和風機外輪廓的最小距離應為850mm。
b) 或者,起限制接近風機作用的機器部件或其輪廓與風機外輪廓間的最小距離應為850mm。應使用如圖1所示的手臂形探棒在操作者手臂可能使用的各個方向和圖2中的陰影區使用探棒驗證此要求。850mm安全距離也適用于陰影區高度之下,即700mm以下區域。見圖2。探棒代表身體的平面應與機器面平行。探棒提供的力應不超過20N。
安全距離由連續測量獲得。
c) 或者,卸料槽開口應符合ISO 13852:1996中表1、表3、表4和表6的規定。如果通過附加裝置達到要求,在操作者可能接近卸料槽開口的任何時候該裝置都應起作用。該裝置應僅能使用工具拆除,且應符合ISO 13849-1規定的1類要求。
d) 或者,如b)所述操作者直接接近之前,例如當舉升或打開料斗時,應提供措施停止風機。
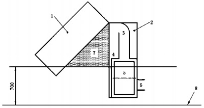
單位為毫米

說明:
1——允許繞餃接軸旋轉±90°的鉸接;
2——能自由旋轉的鉸接;
3——代表上半身的平板。
圖1 手臂形探棒
單位為毫米

說明:
1——料斗(打開狀態);
2——機器機身:
3——卸料槽開口;
4——風機機罩;
5——風機(外輪廓);
6——入口裝置;
7——待測試可接觸區域;
8——地面。
圖2 可接觸區域和機器
以上為標準部分內容,如需看標準全文,請到相關授權網站購買標準正版。
-
IG541混合氣體滅火系統
IG541混合氣體滅火系統:IG-541滅火系統采用的IG-541混合氣體滅火劑是由大氣層中的氮氣(N2)、氬氣(Ar)和二氧化碳(CO2)三種氣體分別以52%、40%、8%的比例混合而成的一種滅火劑 -
二氧化碳氣體滅火系統
二氧化碳氣體滅火系統:二氧化碳氣體滅火系統由瓶架、滅火劑瓶組、泄漏檢測裝置、容器閥、金屬軟管、單向閥(滅火劑管)、集流管、安全泄漏裝置、選擇閥、信號反饋裝置、滅火劑輸送管、噴嘴、驅動氣體瓶組、電磁驅動 -
七氟丙烷滅火系統
七氟丙烷(HFC—227ea)滅火系統是一種高效能的滅火設備,其滅火劑HFC—ea是一種無色、無味、低毒性、絕緣性好、無二次污染的氣體,對大氣臭氧層的耗損潛能值(ODP)為零,是鹵代烷1211、130 -
手提式干粉滅火器
手提式干粉滅火器適滅火時,可手提或肩扛滅火器快速奔赴火場,在距燃燒處5米左右,放下滅火器。如在室外,應選擇在上風方向噴射。使用的干粉滅火器若是外掛式儲壓式的,操作者應一手緊握噴槍、另一手提起儲氣瓶上的


